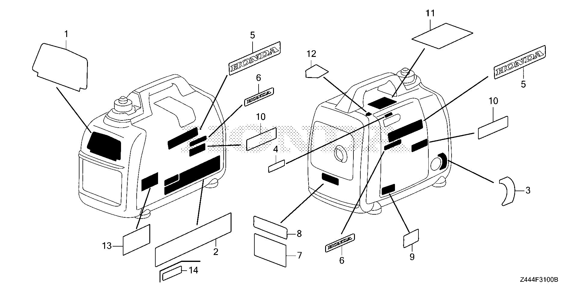
Generators EU EU2200 EU2200IT AN6 EAMT-1000001-9999999 LABEL - Stanford Home Centers

Ref No
Part Number
Description
Serial Range
Qty
Price

Ref No
1
Part Number
87101-Z44-AA0
Description
MARK, EMBLEM
Serial Range
1029175 - 9999999

Ref No
2
Part Number
87150-Z44-P31
Description
MARK, CAUTION (AN3)
Serial Range
2711513 - 9999999
Qty
Price
$5.72

Ref No
3
Part Number
87501-Z44-K30
Description
MARK, ENGINE SWITCH
Serial Range
1000001 - 9999999
Qty
Price
$1.46

Ref No
4
Part Number
87528-Z44-K30
Description
MARK, CHOKE
Serial Range
1000001 - 9999999
Qty
Price
$1.46

Ref No
6
Part Number
87531-Z44-K30
Description
MARK, HONDA
Serial Range
1000001 - 9999999
Qty
Price
$1.46

Ref No
7
Part Number
87539-Z07-R30
Description
MARK, EX. WARNING (E)
Serial Range
1000001 - 9999999
Qty
Price
$4.96

Ref No
9
Part Number
87594-Z44-K30
Description
MARK, OIL CAUTION
Serial Range
1000001 - 9999999
Qty
Price
$1.46

Ref No
11
Part Number
87715-ZT3-S10
Description
MARK, CPSC (CO CAUTION)
Serial Range
1000001 - 9999999
Qty
Price
$8.92

Ref No
12
Part Number
87178-Z44-F30
Description
MARK, DIRECTION
Serial Range
1000001 - 9999999
Qty
Price
$1.52

Ref No
14
Part Number
87114-ZT6-J20
Description
LABEL, WARNING
Serial Range
1000001 - 9999999
Qty
Price
$4.10