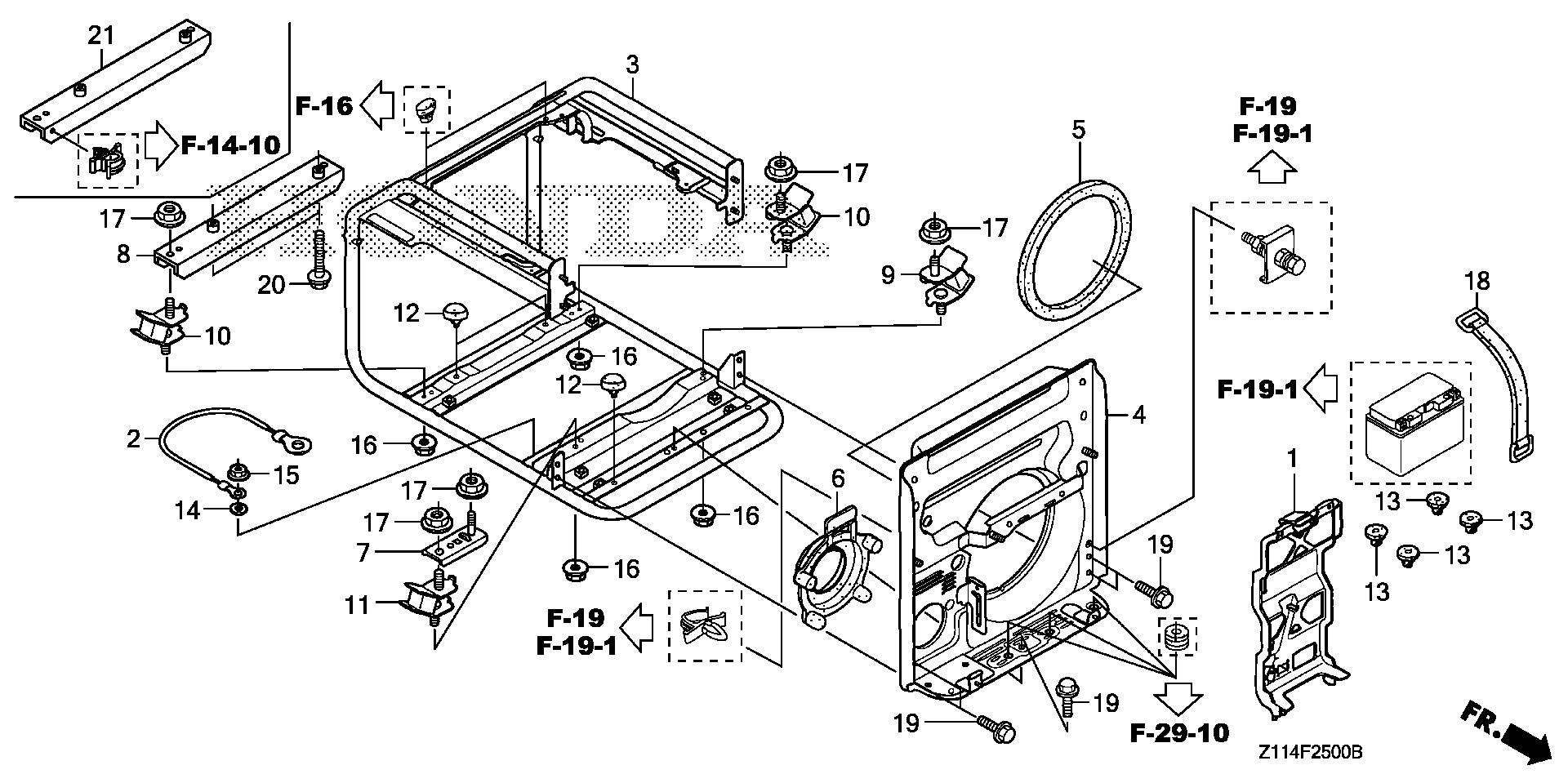
Generators EM EM5000 EM5000IS1 A EAJJ-1100001-9999999 FRAME - Stanford Home Centers

Ref No
Part Number
Description
Serial Range
Qty
Price

Ref No
1
Part Number
32103-Z11-000
Description
BRACKET, WIRE HARNESS CLIP
Serial Range
1000001 - 9999999
Qty
Price
$11.72

Ref No
2
Part Number
32610-Z11-A00
Description
CABLE, SUB-GROUND
Serial Range
1000001 - 9999999
Qty
Price
$6.34

Ref No
3
Part Number
50310-Z11-010ZA
Description
FRAME *NH105* (MAT BLACK)
Serial Range
1000001 - 9999999
Qty
Price
$400.18

Ref No
4
Part Number
63640-Z11-000
Description
FRAME, FR.
Serial Range
1000001 - 9999999
Qty
Price
$164.08

Ref No
5
Part Number
63776-Z11-000
Description
RUBBER A, SEPARATOR SEAL
Serial Range
1000001 - 9999999
Qty
Price
$25.44

Ref No
6
Part Number
63778-Z11-000
Description
RUBBER B, SEPARATOR SEAL
Serial Range
1000001 - 9999999
Qty
Price
$10.66

Ref No
7
Part Number
68322-Z11-000ZA
Description
BRACKET, FR. ENGINE MOUNT *NH105* (MAT BLACK)
Serial Range
1000001 - 9999999
Qty
Price
$11.72

Ref No
9
Part Number
68325-ZC2-000
Description
RUBBER (LOWER)
Serial Range
1000001 - 9999999
Qty
Price
$41.10

Ref No
10
Part Number
68325-Z11-000
Description
RUBBER (LOWER)
Serial Range
1000001 - 9999999
Qty
Price
$22.64

Ref No
11
Part Number
68326-Z11-000
Description
RUBBER, L. (LOWER)
Serial Range
1000001 - 9999999
Qty
Price
$15.32

Ref No
12
Part Number
68346-ZC3-700
Description
RUBBER, STOPPER
Serial Range
1000001 - 9999999
Qty
Price
$2.38

Ref No
13
Part Number
83618-GF0-751
Description
RUBBER, BATTERY BOX
Serial Range
1000001 - 9999999
Qty
Price
$5.06

Ref No
14
Part Number
90432-898-000
Description
WASHER, LOCK (6MM)
Serial Range
1000001 - 9999999
Qty
Price
$1.18

Ref No
15
Part Number
94050-06000
Description
NUT, FLANGE (6MM)
Serial Range
1000001 - 9999999
Qty
Price
$0.82

Ref No
16
Part Number
94050-08000
Description
NUT, FLANGE (8MM)
Serial Range
1000001 - 9999999

Ref No
17
Part Number
94050-10000
Description
NUT, FLANGE (10MM)
Serial Range
1000001 - 9999999

Ref No
18
Part Number
95012-17001
Description
BAND F, BATTERY (155MM)
Serial Range
1000001 - 9999999

Ref No
19
Part Number
95701-08012-00
Description
BOLT, FLANGE (8X12)
Serial Range
1000001 - 9999999

Ref No
20
Part Number
95701-08030-00
Description
BOLT, FLANGE (8X30)
Serial Range
1000001 - 9999999

Ref No
21
Part Number
68323-Z11-R30
Description
BRACKET, RR. ENGINE MOUNTING
Serial Range
1000001 - 9999999
Qty
Price
$21.04