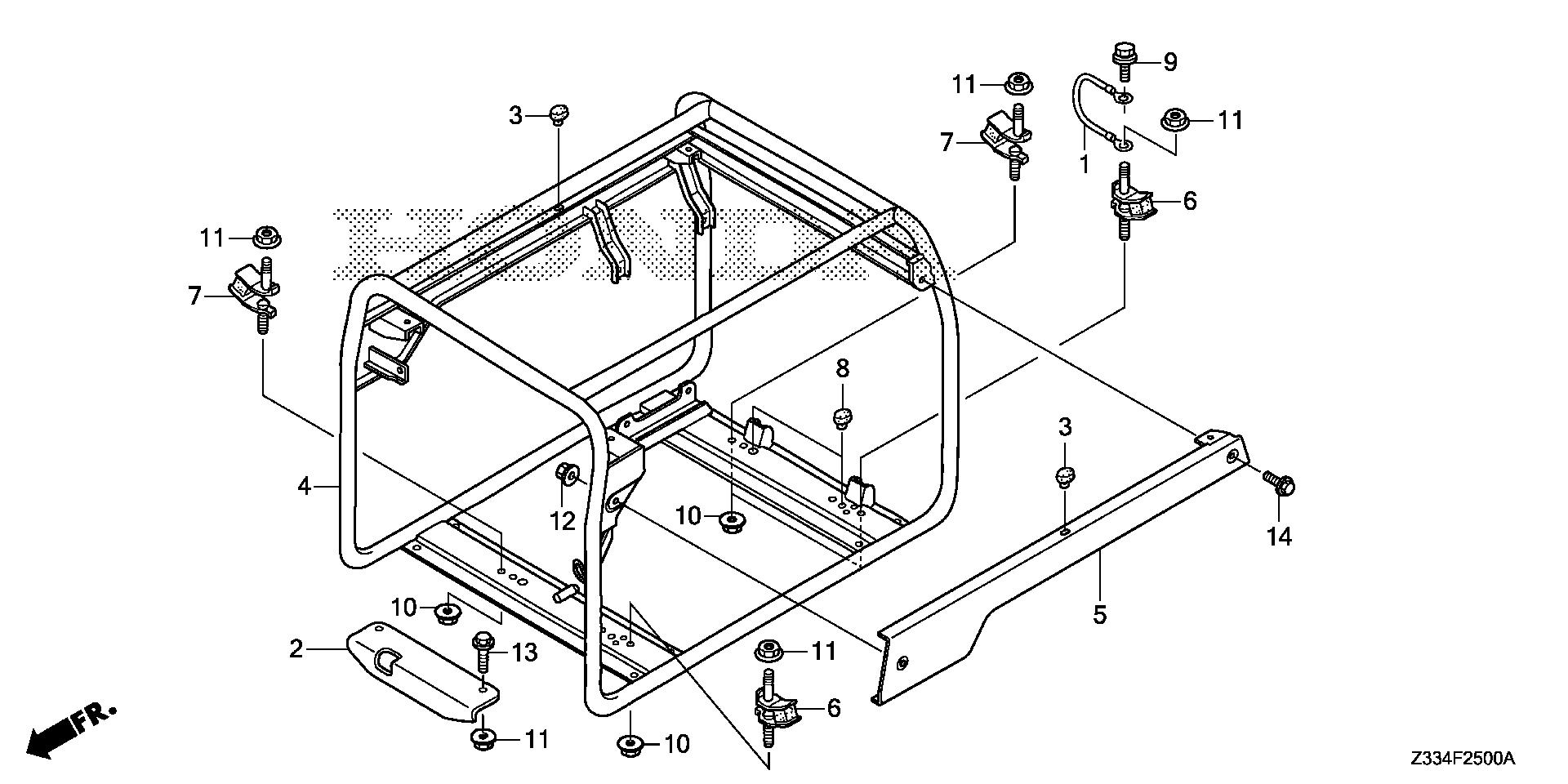
Generators EG EG4000 EG4000CL AN EBGC-1500001-9999999 FRAME - Stanford Home Centers

Ref No
Part Number
Description
Serial Range
Qty
Price

Ref No
1
Part Number
32610-ZD1-A40
Description
CABLE, SUB-GROUND
Serial Range
1000001 - 9999999
Qty
Price
$7.84

Ref No
2
Part Number
50138-Z16-000
Description
BRACKET, STOPPER
Serial Range
1000001 - 9999999
Qty
Price
$29.52

Ref No
3
Part Number
50153-ZR6-000
Description
RUBBER, FUEL TANK MOUNTING
Serial Range
1000001 - 9999999
Qty
Price
$5.96

Ref No
4
Part Number
50310-Z33-V20ZA
Description
FRAME *NH105* (CL) (MAT BLACK)
Serial Range
1501007 - 9999999
Qty
Price
$534.56

Ref No
5
Part Number
50315-Z33-V20ZA
Description
FRAME, R. SIDE *NH105* (MAT BLACK)
Serial Range
1000001 - 9999999
Qty
Price
$65.92

Ref No
6
Part Number
68325-Z21-E30
Description
RUBBER (LOWER)
Serial Range
1000001 - 9999999
Qty
Price
$24.96

Ref No
7
Part Number
68325-Z22-E30
Description
RUBBER (LOWER)
Serial Range
1000001 - 9999999
Qty
Price
$24.90

Ref No
8
Part Number
68331-Z18-000
Description
RUBBER, BUMP STOP
Serial Range
1000001 - 9999999
Qty
Price
$3.86

Ref No
9
Part Number
90148-SE0-003
Description
BOLT, GROUND (6X16) (WASHER 12.5MM) (ZN)
Serial Range
1000001 - 9999999
Qty
Price
$10.54

Ref No
10
Part Number
94050-08000
Description
NUT, FLANGE (8MM)
Serial Range
1000001 - 9999999

Ref No
11
Part Number
94050-10000
Description
NUT, FLANGE (10MM)
Serial Range
1000001 - 9999999

Ref No
12
Part Number
94050-06000
Description
NUT, FLANGE (6MM)
Serial Range
1000001 - 9999999
Qty
Price
$0.82

Ref No
13
Part Number
95701-10040-00
Description
BOLT, FLANGE (10X40)
Serial Range
1000001 - 9999999

Ref No
14
Part Number
95701-06012-07
Description
BOLT, FLANGE (6X12)
Serial Range
1000001 - 9999999
Qty
Price
$1.98